podd-202308030001145197FALSE00011451972023-08-032023-08-03
UNITED STATES
SECURITIES AND EXCHANGE COMMISSION
Washington, D.C. 20549
FORM 8-K
CURRENT REPORT
PURSUANT TO SECTION 13 OR 15(d) OF
THE SECURITIES EXCHANGE ACT OF 1934
Date of Report (Date of earliest event reported): August 3, 2023
INSULET CORPORATION
(Exact Name of Registrant as Specified in Charter)
| | | | | | | | | | | | | | |
| Delaware | | 001-33462 | | 04-3523891 |
(State or Other Jurisdiction of Incorporation) | | (Commission File Number) | | (IRS Employer Identification No.) |
| | | | | | | | | | | | | | |
| 100 Nagog Park | |
| Acton | Massachusetts | 01720 | |
| (Address of Principal Executive Offices, including Zip Code) |
| | | | | | | | | | | |
| Registrant’s telephone number, including area code: | (978) | 600-7000 |
| | | | | | | | | | | | | | |
| Not Applicable (Former Name or Former Address, if Changed Since Last Report) | |
Check the appropriate box below if the Form 8-K filing is intended to simultaneously satisfy the filing obligation of the registrant under any of the following provisions (see General Instruction A.2. below):
| | | | | |
| ☐ | Written communications pursuant to Rule 425 under the Securities Act (17 CFR 230.425) |
| | | | | |
| ☐ | Soliciting material pursuant to Rule 14a-12 under the Exchange Act (17 CFR 240.14a-12) |
| | | | | |
| ☐ | Pre-commencement communications pursuant to Rule 14d-2(b) under the Exchange Act (17 CFR 240.14d-2(b)) |
| | | | | |
| ☐ | Pre-commencement communications pursuant to Rule 13e-4(c) under the Exchange Act (17 CFR 240.13e-4(c)) |
Indicate by check mark whether the registrant is an emerging growth company as defined in Rule 405 of the Securities Act of 1933 (§230.405 of this chapter) or Rule 12b-2 of the Securities Exchange Act of 1934 (§240.12b-2 of this chapter)
| | | | | |
| Emerging growth company | ☐ |
| If an emerging growth company, indicate by check mark if the registrant has elected not to use the extended transition period for complying with any new or revised accounting standards provided pursuant to Section 13(a) of the Exchange Act | ☐ |
Securities registered pursuant to Section 12(b) of the Act:
| | | | | | | | | | | | | | |
| Title of each class | | Trading Symbol(s) | | Name of each exchange on which registered |
Common Stock, $0.001 Par Value Per Share
| | PODD | | The NASDAQ Stock Market, LLC
|
On August 3, 2023, Insulet Corporation (the “Company”) filed with the United States District Court for the District of Massachusetts a Complaint for Misappropriation and Infringement of Intellectual Property Rights and Unfair Competition (the “Complaint”) against EOFlow Co., Ltd.; EOFlow, Inc.; Flex, Ltd.; Flextronics Corp.; Flextronics Medical Sales and Marketing, Ltd.; Luis J. Malave; Steven DiIanni; and Ian G. Welsford. The Complaint alleges misappropriation of the Company’s trade secrets in violation of the Defend Trade Secrets Act, breach of contract, infringement of the Company’s patents, trade dress dilution and injury to business reputation, and unfair competition.
The foregoing description of the Complaint is not intended to be complete and is qualified in its entirety by reference to the full text of the Complaint, filed as Exhibit 99.1 hereto and incorporated by reference herein.
| | | | | |
| Item 9.01 | Financial Statements and Exhibits. |
| | | | | |
| (d) | Exhibits. |
| The following exhibit is filed as part of this report: |
| | | | | | | | |
| No. | | Exhibit |
| | Complaint |
| | |
| 104 | | Cover Page Interactive Data File (embedded within the Inline XBRL document) |
| | |
SIGNATURES
Pursuant to the requirements of the Securities Exchange Act of 1934, as amended, the registrant has duly caused this Current Report on Form 8-K to be signed on its behalf by the undersigned thereunto duly authorized.
| | | | | | | | | | | | | | |
| | | | |
| INSULET CORPORATION
| |
| August 8, 2023 | By: | /s/ John W. Kapples | |
| Name: | John W. Kapples | |
| Title: | Senior Vice President, General Counsel | |
DocumentUNITED STATES DISTRICT COURT
DISTRICT OF MASSACHUSETTS
INSULET CORPORATION, :
:
Plaintiff, :
: Case No. 1:23-cv-11780
v. :
: JURY TRIAL DEMANDED
EOFLOW CO., LTD.; EOFLOW, INC.; :
FLEX, LTD.; FLEXTRONICS :
CORPORATION; FLEXTRONICS :
MEDICAL SALES AND MARKETING, :
LTD.; LUIS J. MALAVE; STEVEN :
DIIANNI; and IAN G. WELSFORD, :
:
Defendants. :
____________________________________:
COMPLAINT FOR MISAPPROPRIATION AND INFRINGEMENT OF INTELLECTUAL PROPERTY RIGHTS AND UNFAIR COMPETITION
Plaintiff Insulet Corporation (“Insulet”), by and through its attorneys, for its Complaint against EOFlow Co., Ltd. (“EOFlow” or “EOFlow Ltd.”), EOFlow, Inc. (“EOFlow Inc.”), Flex, Ltd. (“Flex”), Flextronics Corporation (“Flex US”), Flextronics Medical Sales and Marketing, Ltd. (“Flex MSM”), Luis J. Malave, Steven DiIanni, and Ian G. Welsford1 alleges as follows:
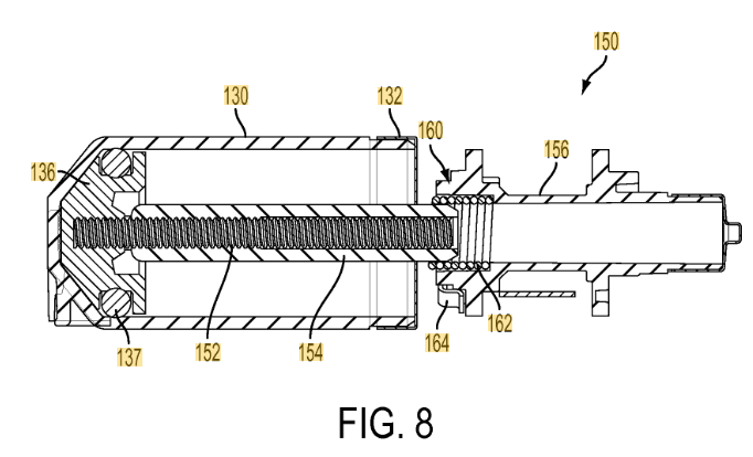
I.INTRODUCTION
1.This case arises from Defendants’ theft of pioneering intellectual property covering Insulet’s first-of-its-kind “patch pump,” a compact, wearable, waterproof, adhesive medical device that delivers insulin to people with insulin-dependent diabetes.
1 This Complaint will refer to: (a) EOFlow Ltd. and EOFlow Inc. collectively as the “EOFlow Defendants”; (b) Flex, Flex US, and Flex MSM collectively as the “Flex Defendants”; (c) Malave, DiIanni, and Welsford collectively as the “Individual Defendants”; and (d) all defendants collectively as “Defendants.”
2.Approximately forty million Americans suffer from diabetes, with many—nearly eight million—requiring insulin to manage the condition. Before Insulet revolutionized insulin delivery, people who required insulin had two basic, and unsatisfying, options: either self-administer insulin injections multiple times over the course of the day, or wear a multi-component, bulky pump in a satchel or clipped to clothing that delivered insulin through a long, flexible tube.
3.Insulet was founded in Massachusetts in 2000 by a father who was unsatisfied with insulin delivery options for his young son. After five years of research and development, Insulet changed the paradigm for insulin delivery when, in January 2005, the U.S. Food and Drug Administration approved the first version of Insulet’s Omnipod® System—the first ever adhesive, wearable, and disposable insulin patch pump. Unlike insulin pumps available at the time, Insulet’s Omnipod System featured only two discreet, easy-to-use components: a small, lightweight, self-adhesive, disposable insulin infusion pump component that patients could wear directly on the skin called the Omnipod or “pod” and a wireless, menu-driven, handheld component (like a personal digital assistant) called the Personal Diabetes Manager or “PDM”:

4.Insulet’s Omnipod System eliminated the need for the bulky pump, tubing, and separate blood glucose meter and created a new market for tubeless, wearable insulin delivery systems. Since its founding nearly a quarter century ago, Insulet has invested hundreds of millions of dollars to bring new generations of the Omnipod System to diabetes patients. Last year, FDA approved the fifth generation of Insulet’s Omnipod line of products: the Omnipod 5 Automated Insulin Delivery System. Insulet’s Omnipod 5 and its previous generation product, the Omnipod DASH System, remain the only widely-used FDA-approved insulin patch pumps sold in the United States.
5.Insulet faced several substantial challenges in bringing the first FDA-approved patch pump to diabetes patients. It was essential that Insulet’s new system deliver precise doses of insulin to patients reliably and safely. Insulet demanded that its products be easy-to-use, lightweight enough to attach to a user’s skin, accurate in dose delivery, inexpensive, and precisely manufactured for quality assurance. Insulet spent significant time designing and developing software and communication protocols that enabled the Omnipod to communicate safely and effectively with the PDM. And Insulet needed to develop a way to make its Omnipod products consistently and cost-effectively. Manufacturing, especially at scale, was a particular challenge and one that Insulet spent hundreds of millions of dollars researching, testing, and refining over several years. Indeed, one of the keys to Insulet’s success has been its development and implementation of robust and reliable manufacturing processes.
6.Many other companies—including some of the largest medical device companies in the world—have tried, but failed, to develop a patch pump that can be manufactured on a time-efficient, accurate, affordable, and reproducible basis. For example, Medtronic—the largest medical device company in the world—has been unable to develop a patch pump. In fact, senior
executives at Medtronic have repeatedly acknowledged publicly that manufacturing of patch pumps is extremely difficult and have attributed Medtronic’s failure to develop a competitive product to Omnipod to difficulties in the manufacturing processes.
7.The EOFlow Defendants, however, claim they have done something that Medtronic and every other company but Insulet has failed to do, and in a shorter period with substantially less investment: manufacture at scale a patch pump that is, in most respects, virtually indistinguishable from Insulet’s Omnipod System. EOFlow Ltd. was founded in 2011, and initially focused on developing patch pumps that used a different pumping technology to deliver insulin. Early prototypes of EOFlow’s product—called the EOPatch—looked nothing like Insulet’s Omnipod products. But, starting around 2016, something changed. Instead of continuing to independently design and develop its own patch pump, EOFlow pivoted and launched a plan to brazenly copy Insulet’s Omnipod System. EOFlow hired former Insulet senior executives and critical employees, such as Defendants Malave, DiIanni, and Welsford, to oversee the development, manufacturing, regulatory approval, and marketing of the EOPatch. EOFlow also entered into a “joint development and collaboration” contract with Insulet’s primary contract manufacturer of the Omnipod products, Flex, who possessed every detail of Insulet’s proprietary and confidential manufacturing processes through its own manufacturing agreement with Insulet. Through these actions, EOFlow misappropriated Insulet’s trade secret product details and manufacturing processes and, moreover, copied patented components of Insulet’s Omnipod products.
8.After initially having spent five years with no meaningful progress building a patch pump of its own design, in the course of just two years after contracting with Flextronics and hiring former Insulet executives with detailed knowledge of Insulet’s manufacturing and
quality assurance operations, in 2018, EOFlow started advertising its completely redesigned “EOPatch” product—one that looked strikingly similar to Insulet’s Omnipod product:
Omnipod (left) and EOPatch (right)
9.As Insulet learned only in 2023 after it received and examined an EOPatch device, the similarities between the Omnipod and the redesigned EOPatch do not end with the exterior appearance. Other than the EOPatch actuator, which is an electro-osmotic pump instead of a shape-memory alloy wire as used by Insulet, nearly every other aspect of the EOPatch pumping mechanism is substantially identical to Insulet’s Omnipod product, including but not limited to a pivoting, two-arm “walking man” hook; two ratchet gear wheels each having fifty teeth and driven by the “walking man” hook; a tube nut within the ratchet gear wheels; a spring clutch mechanism; an oval reservoir shape with a single O-ring; a leadscrew driven by the tube nut and fixed to a plunger; a rod on the plunger; two hook switch cups; spring contacts on the circuit board and ground spring contacts; rotational sensors; a “nail head” seal on the cannula; use of a needle cap vent; a piezoelectric kill break on the circuit board; the particular adhesive pad weld configuration, and many others. Indeed, many of the components are entirely
interchangeable between the two products. Shown below are several illustrative examples of the similarities in physical components between Insulet’s Omnipod and EOFlow’s EOPatch:
| | | | | | | | |
| Component/System | Insulet’s Omnipod Product | EOPatch |
| Drive system with Walking-Man Hook | | |
| Clutch/Tube Nut for Drive Rod Engagement | | |
| Ratchet Gears (each with 50 teeth per wheel) | | |
| Insulin Reservoir and Plunger with Drive Rod | | |
| | | | | | | | |
| “Nail Head” Cannula Seal | | |
| Adhesive Pad Weld | | |
10.EOFlow’s rapid development of a patch pump and the complex manufacturing processes required to produce it where others have repeatedly failed is no accident. It is based on EOFlow’s wholesale theft of Insulet’s intellectual property, through the use of Insulet’s highly-involved former employees and Insulet’s contract manufacturer, Flex.
11.For several years following its redesign, EOFlow’s EOPatch was unavailable to the public and to Insulet. Although EOFlow had announced the regulatory approval of EOPatch in Korea, Europe, the UAE, and Indonesia by the end of 2022, only a few hundred patients were reportedly using EOPatch by that time, and only in Korea. On December 27, 2022, Defendant EOFlow announced plans to launch the redesigned EOPatch in the United States. On that date, EOFlow submitted to FDA a premarket submission to FDA under section 510(k) of the Federal Food, Drug, and Cosmetic Act for FDA approval for its EOPatch. Section 510(k) is an expedited approval pathway that allows medical device manufacturers to obtain FDA approval without
clinical trials and testing. Rather, EOFlow need only show that its device is “substantially equivalent” to another device already on the market—presumably, Insulet’s Omnipod. FDA approval is now imminent and EOFlow is on the verge of launching an insulin patch pump that is built using Insulet’s proprietary trade secrets and infringes multiple Insulet patents.
12.EOFlow’s intellectual property theft has paid off handsomely so far. Not only is EOFlow on the cusp of having the EOPatch approved for sale in the United States by the FDA, but about two months ago—on May 25, 2023—Medtronic also announced its intention to acquire EOFlow for $738 million because of the EOPatch product. If it completes that acquisition, Medtronic will effectively be outsourcing the theft of intellectual property to bring to market a patch pump that it has repeatedly tried and failed to develop on its own. The disclosure of Insulet’s trade secrets to Medtronic—a competitor with virtually unlimited resources—will work immediate and irreparable harm to Insulet and effectively rob all value from Insulet’s trade secrets.
II.NATURE OF THE ACTION
13.This is an action for: misappropriation of trade secrets in violation of the Defend Trade Secrets Act, 18 U.S.C. § 1836 et seq. (DTSA); breach of contract; patent infringement under 35 U.S.C. § 271; false designation of origin in violation of the Lanham Act, 15 U.S.C. § 1125(a); trade dress dilution and injury to business reputation under M.G.L. ch. 110H, § 13; and unfair competition in violation of M.G.L. ch. 93A.
III.THE PARTIES
14.Plaintiff Insulet Corporation is a Delaware corporation with its principal place of business at 100 Nagog Park, Acton, MA 01720.
15.EOFlow Ltd. is a publicly traded Korean corporation with a principal place of business in Seongman-si, Korea. On information and belief, EOFlow Ltd. does and/or plans to do business throughout the United States by selling the EOPatch, including in Massachusetts.
16.EOFlow Inc. is a Delaware corporation with its principal place of business at 3003 North 1st Street, #221, San Jose, California. On information and belief, as a subsidiary of EOFlow Ltd., EOFlow Inc. does and/or plans to do business throughout the United States by selling the EOPatch, including in Massachusetts. Upon information and belief, EOFlow Inc. and its officers acting for an on behalf of EOFlow Inc. have participated and/or facilitated EOFlow Ltd.’s efforts directed at obtaining FDA approval for EOFlow Ltd.’s EOPatch and commercializing the same in the United States. Indeed, as discussed further below, infra ¶ 74, EOFlow Ltd. has publicly acknowledged that it has used EOFlow Inc. and its officers and employees to facilitate FDA approval of the EOPatch.
17.Defendant Luis J. Malave is an individual who resides at 1712 Azul Vistan, San Marcos, CA 92078. Malave started working at Insulet in January 2002, less than two years after it was founded, and was one of Insulet’s first forty employees. During his tenure at Insulet, Malave was Vice President of Research and Development from January 2002 to January 2003; Senior Vice President of Research, Development and Engineering from February 2003 to January 2007; and Chief Operating Officer from January 2007 until he left Insulet in August 2010. On information and belief, Malave was hired by EOFlow Inc. in October 2017 and served as its president until January 2022, at which time he was promoted to the role of CEO of SanPlena, LLC, a Delaware corporation established in December 2021, majority owned by EOFlow Inc.
18.Defendant Steven DiIanni is an individual who resides at 80 Market Street, Amesbury, MA 01913. DiIanni was employed by Insulet from 2002 until January 2015, where he served in several roles including Director of Mechanical Engineering, Development Engineering Manager, Senior Development Engineer, and other technical roles. Like Malave, DiIanni started working at Insulet in January 2002, less than two years after it was founded, and was one of Insulet’s first forty employees. On information and belief, DiIanni has been a consultant for one or more of the EOFlow Defendants since at least June 2018.
19.Defendant Ian G. Welsford is an individual who resides at 14 Whittaker Drive, Stratham, NH 03885. Welsford was employed by Insulet from 2008 until 2010, where he served as Director of Regulatory Affairs. In 2010, Welsford transitioned from employee to consultant for Insulet and he continued to work on regulatory approval of the Eros version of Insulet’s Omnipod product in the United States and Europe. Welsford was hired by EOFlow Inc. in April 2018, as Chief Technology Officer and led the preparation of EOFlow’s § 510(k) application for approval of the EOPatch in the United States. Welsford currently serves as the CEO of Nephria Bio, Inc., a Delaware corporation established in January 2021, majority owned by EOFlow.
20.Defendant Flex is a Singapore corporation with a principal corporate office located at 2 Changi South Lane, Singapore 486123 and a U.S. corporate headquarters located at 12455 Research Boulevard, Austin, TX 78759. On information and belief, Flex does business throughout the United States, including in Massachusetts.
21.Defendant Flex US is a Delaware corporation with a principal place of business at 6201 America Center Drive, San Jose, California 95002. On information and belief, Flex US does business throughout the United States, including in Massachusetts.
22.Defendant Flex MSM is a Mauritius corporation with a principal place of business at Level 3, Alexander House 35, Cybercity, Ebene, Mauritius. On information and belief, Flex MSM does business throughout the United States, including in Massachusetts.
23.Upon information and belief, at all times relevant to this Complaint, Flex US and Flex MSM were operating as alter egos or instrumentalities of Flex Ltd. Insulet’s service agreements with Flex were signed by Flex MSM on behalf of all Flex affiliate entities, including Flex and Flex US, and Insulet’s business dealings in furtherance of those agreements were not only with Flex MSM employees but with employees of Flex and/or Flex US at the corporate headquarters of Flex and/or Flex US in Austin, Texas, and San Jose, California.
IV.JURISDICTION AND VENUE
24.This Court has subject matter jurisdiction over Insulet’s federal claims pursuant to 28 U.S.C. § 1331 and supplemental jurisdiction over Insulet’s state law claims pursuant to 28 U.S.C. § 1367. This Court also has subject matter jurisdiction over Insulet’s claims for patent and federal trade dress infringement pursuant to 28 U.S.C § 1338(a).
25.This Court has personal jurisdiction over EOFlow Ltd. because, among other things, when EOFlow Ltd.’s application for FDA approval to sell the EOPatch in the United States is approved, EOFlow Ltd. will directly or indirectly market and/or sell the EOPatch product within the United States, including the Commonwealth of Massachusetts. On information and belief, EOFlow Ltd. has participated and collaborated in the preparation, filing, and seeking of FDA approval of the EOPatch; continues to participate and collaborate in seeking FDA approval of the EOPatch; and intends to participate and collaborate in the commercial marketing, offering for sale, and sale of the EOPatch throughout the United States, including in the Commonwealth of Massachusetts. For example, EOFlow Ltd. owns at least one other proxy entity, Ferrex Therapeutics, Inc. (“Ferrex”) whose business plan, based on an EOFlow press
release, is also to use the “EOFlow Patch” in the treatment of diseases other than diabetes. Ferrex lists its principal place of business as a shared office space in Cambridge, Massachusetts, and also has an office space in New Hampshire, at the same physical location as an office space used by EOFlow Inc. In corporate filings with the Massachusetts Secretary of State, Ferrex reports that its President, Treasurer, Secretary, Vice President, and Director roles are all performed by Jesse Kim. Based on publicly available information, Mr. Kim is also the “Founding CEO” of EOFlow, president of EOFlow Inc., Chairman of the Board of Directors of Nephria, and Founder & CEO of SanPlena. Alternatively, if the exercise of personal jurisdiction in this Court is not held to be proper based on EOFlow Ltd.’s contacts with Massachusetts specifically, then, on information and belief, EOFlow Ltd. is not subject to jurisdiction in any state’s court of general jurisdiction and therefore personal jurisdiction over EOFlow in this Court is proper pursuant to Fed. R. Civ. P. 4(k)(2).
26.This Court has personal jurisdiction over EOFlow Inc. because, on information and belief, EOFlow Inc. is EOFlow Ltd.’s proxy entity in the United States. On information and belief, EOFlow Inc. is the principal United States operating entity of EOFlow Ltd. and was incorporated to facilitate the domestic employment of, and payments to, United States citizens—including Defendants Malave, DiIanni, and Welsford—and to otherwise act as EOFlow’s agent for its efforts to commercialize the EOPatch in the United States. Among other things, EOFlow Ltd. and EOFlow Inc. have common ownership, intermingle business assets, commonly refer to themselves and do business as a single entity (EOFlow), and offer the same products and services, all marketed and sold under the EOFlow brand. In addition, on information and belief, EOFlow Ltd. exercises control over EOFlow Inc. and holds out the place of business of EOFlow Inc. as the place of business of EOFlow Ltd. Further, on information and belief, EOFlow Inc. is
thinly capitalized and relies on influxes from EOFlow Ltd. to maintain operations. Further, EOFlow Inc. knowingly engaged in tortious acts primarily and substantially in the Commonwealth of Massachusetts, including by engaging Malave, DiIanni, and Welsford to commit acts of trade secret misappropriation in the Commonwealth of Massachusetts and directed at Acton, Massachusetts-based Insulet.
27.This Court has general personal jurisdiction over Defendant DiIanni because he resides in Massachusetts.
28.This Court has personal jurisdiction over Defendants Malave, DiIanni, and Welsford by virtue of their employment at Insulet, a company with its principal place of business in Massachusetts, and because Defendants Malave, DiIanni, and Welsford entered into employment and consulting agreements with Massachusetts-based Insulet to perform services on behalf of Insulet.
29.This Court also has personal jurisdiction over Defendants Malave, DiIanni, and Welsford as they purposefully availed themselves of the privilege of doing business in Massachusetts through their employment with a Massachusetts-based company and the claims alleged herein arise from and relate to those defendants’ employment with that company.
30.This Court also has personal jurisdiction over Defendants Malave, DiIanni, and Welsford because, as detailed infra §§ V.A-V.D and Count I, each performed acts of misappropriation of Insulet’s trade secrets, both on their own behalf and on behalf of both EOFlow Defendants, primarily and substantially in the Commonwealth of Massachusetts, including at Insulet’s former headquarters in Billerica and/or Bedford, Massachusetts, which caused harm to Insulet in the Commonwealth of Massachusetts.
31.This Court has personal jurisdiction over Defendants Flex, Flex US, and Flex MSM because they entered contracts with Insulet in Massachusetts and provided goods and/or performed services for Insulet in Massachusetts, and attended numerous meetings in Massachusetts for this purpose. For example, Flex MSM executed a Materials Supplier Agreement with Insulet Corporation to supply goods and perform services in Massachusetts “on behalf of itself and its worldwide affiliates,” with an effective date of September 1, 2016. Defendants Flex and Flex US are [and were] affiliates of Flex MSM. Alternatively, if the exercise of personal jurisdiction in this Court is not held to be proper based on Flex Ltd.’s contacts with Massachusetts specifically, then, on information and belief, Flex Ltd. is not subject to jurisdiction in any state’s court of general jurisdiction and therefore personal jurisdiction over Flex in this Court is proper pursuant to Fed. R. Civ. P. 4(k)(2).
32.This Court also has personal jurisdiction over Defendants Flex, Flex US, and Flex MSM because, as detailed infra § V.D and Count I, each performed acts of misappropriation of Insulet’s trade secrets, primarily and substantially in the Commonwealth of Massachusetts.
33.Venue is proper in this judicial District for all claims under 28 U.S.C. § 1391(b)(2), § 1391(b)(3), and § 1391(c)(3).
V.INSULET’S INTELLECTUAL PROPERTY AND
THE DEFENDANTS’ MISAPPROPRIATION AND INFRINGEMENT
A.Development of the Omnipod System and Related Manufacturing Processes
34.Insulet was founded almost a quarter century ago with the goal of developing a cost-effective, wearable, disposable, waterproof, tubeless insulin pump that can be controlled wirelessly through a handheld device containing a fully integrated blood-glucose meter. The first design of Insulet’s Omnipod took over five years and more than $40 million dollars in research and development during years 2000-2005 to yield an initial, safe and reliable, FDA-
approved product, an additional six years and more than $170 million to develop its “Eros” version of the Omnipod System, and then another eight years and more than $600 million to develop its “DASH” version of the Omnipod System. The time and resources expended by Insulet is unsurprising. Insulet’s Omnipod contains high-precision electromechanical components and software to accurately and safely dispense insulin in specific doses over prolonged periods. Among other things, Insulet had to design and build customized and purpose-built manufacturing machinery to assemble components into finished products in a cost-efficient and reliable manner. All aspects of this work were kept strictly confidential by Insulet.
35.In 2005, Insulet became the first company to commercially launch a tubeless insulin delivery system with a “Personalized Diabetes Manager”:
36.Insulet’s first revolutionary Omnipod System was lauded throughout the industry. In 2006, the Omnipod System received the Gold Industrial Excellence Award (IDEA) from the Industrial Designers Society of America. The IDEA competition is among the world’s most prestigious design competitions, with awards based on excellence and innovation in the design and functionality of individual products. That same year, Insulet also received the Medical Design Excellence Award for General Hospital and Therapeutic Products from Canon Communications, LLC, and a 2006 New England Innovation Award from the Smaller Business Association of New England.
37.Insulet’s Omnipod System was designed to meet all insulin needs of patients with insulin-dependent diabetes. There are generally two types of insulin delivery modes needed by people suffering from diabetes to best manage their condition: basal insulin and bolus insulin. Generally speaking, basal insulin is a small amount of insulin delivered at regular, short time intervals throughout the day and night to help keep the user’s glucose levels stable, and bolus insulin is a one-time, user-prompted dose delivered to address the intake of meals with carbohydrates and/or to otherwise correct for high glucose readings. From its first product iteration, Insulet’s Omnipod System has been engineered to deliver both basal insulin and bolus insulin.
38.By 2007, demand for Insulet’s Omnipod product was exceeding Insulet’s in-house manufacturing capabilities. So in late 2007, Insulet announced it had entered into a manufacturing and supply relationship with the Flex Defendants, a global medical device manufacturing company.
39.After its initial product launch, Insulet continued to innovate and improve the Omnipod System. By 2011, Insulet developed its “Eros” version of the Omnipod System, which
included significant mechanical and structural updates for improved product performance and to facilitate manufacturing processes at scale. By this time, Insulet had spent over $170 million in research and development. By 2019, Insulet developed the “DASH” version of its Omnipod System, which improved upon the Eros version by replacing the Eros PDM with a new, smartphone-based PDM running an app for pump control. By this time, Insulet had spent over $600 million in research and development, including manufacturing development costs.
40.While at Insulet, Defendants Malave and DiIanni were entrusted with details of every aspect of the research and development efforts to create the world’s first insulin patch pump. As Insulet’s Vice President of Research, Development and Engineering, and also as its Chief Operating Officer, Malave was intimately involved in the development, contractual engagement, and implementation of manufacturing of Insulet’s Omnipod product at scale. Malave is a named inventor on 27 patents and patent applications worldwide filed by Insulet relating to non-trade secret technologies used by Insulet in its Omnipod product.
41.Similarly, as Director of Mechanical Engineering at Insulet, DiIanni was highly involved in developing manufacturing processes and resolving manufacturing issues. DiIanni was in possession of detailed technical information about Insulet’s Omnipod product, including but not limited to product specifications, material compositions, coating materials, plating specifications, operational software requirements and details, product functional requirements, dimensional tolerances, drive stroke and force requirements, and other product and manufacturing details. DiIanni is a named inventor on 40 patents and patent applications worldwide filed by Insulet relating to non-trade secret technologies used by Insulet in its Omnipod product, including the patents at issue in this case: U.S. Patent Nos. 11,229,741 (“the ’741 Patent”), 10,420,883 (“the ’883 Patent”), and 9,402,950 (“the ’950 Patent”).
42.As Director of Regulatory Affairs at Insulet, Welsford was responsible for managing a variety of activities concerning regulatory approvals and regulatory compliance for Insulet’s Omnipod product. He also was responsible for working with management in planning, organizing and preparing regulatory documents for submission to governmental regulatory agencies worldwide. In his role, Welsford had access to every record regarding the Omnipod product and every communication between Insulet and regulatory authorities around the world. Importantly, Welsford was intimately knowledgeable about the challenges and compliance issues encountered during the product development process, and the time-consuming trial and error corrective actions taken by Insulet to address them. Examples of such challenges and issues included, but are not limited to, user interactions with the patch adhesive, effectiveness of the patch adhesive, timing and efficacy of needle deployment, safety and reliability of communications between the PDM and pump, insulin compatibility with Omnipod components, the accuracy of delivered insulin dose, occlusion susceptibility, sterilization compatibility, maintaining function with changes in pressure and altitude, and many others.
43.On behalf of Insulet, both Malave and DiIanni were intimately involved with Flex and its manufacturing development efforts for the Omnipod product. Malave was instrumental in bringing Insulet and Flex together, as Insulet’s sole contract manufacturer, and in continuously working with Flex to help determine how to cost-effectively manufacture Insulet’s insulin pump and work on cost bills of materials and other financial aspects of the Omnipod product. Indeed, Malave spent extended periods of time in China at Flex’s plant working on technology transfer and the development of Insulet’s proprietary manufacturing technologies. Similarly, during his employment at Insulet, DiIanni also spent time in China at Flex, and was intimately involved in developing manufacturing processes for Insulet’s insulin pump at a Flex plant in Austin, Texas.
DiIanni spent extended periods of time at Flex for this development work, during which time he actively participated in the development and transfer of insulin pump manufacturing technologies.
B.Flex’s Work for Insulet and Access to Insulet Trade Secrets
44.Insulet first entered into a “Flextronics Manufacturing Services Agreement” with Flextronics Marketing Ltd. on January 3, 2007 (including First Addendum dated October 2, 2007, the “2007 Flex Agreement”). In it, Flex Marketing agreed, inter alia, to manufacture, assemble, and test Omnipod products pursuant to Insulet’s specifications (i.e., including but not limited to bill of materials, designs, schematics, assembly drawings, process documentation, test specifications, and approved vendors).
45.The 2007 Flex Agreement was superseded by a Materials Supplier Agreement between Insulet and Flex MSM dated September 1, 2016 (collectively with First Amendment to Materials Supplier Agreement dated January 1, 2018 and Second Amendment to Materials Supplier Agreement dated October 1, 2020, the “2016 Flex Agreement”).
46.On information and belief, Flex MSM is the successor in interest to Flex Marketing Ltd.
47.In the 2016 Flex Agreement, Flex MSM executed the 2016 Agreement “on behalf of itself and its worldwide affiliates,” with an effective date of September 1, 2016. On information and belief, Defendants Flex and Flex US are and were affiliates of Flex MSM.
48.Pursuant to the 2007 and 2016 Flex Agreements, Flex eventually became the sole contract manufacturer and supplier to Insulet of Insulet’s Omnipod product. Flex remained the sole manufacturer of Omnipod for at least the five-year period prior to June 2019. Since that time, Flex continues to manufacture for Insulet, on a temporary and more limited basis, a non-insulin drug delivery pump based upon the Omnipod product. The process by which Flex
developed the manufacturing capabilities for the Omnipod product involved countless hours of investment by numerous Insulet personnel, including Defendants Malave and DiIanni, problem solving in Massachusetts and communicating resolutions with Flex, traveling the globe to various Flex plants, including to the Flex headquarters in Austin, Texas and the Flex US headquarters in San Jose, California, to facilitate technology transfer and development of precise manufacturing processes for Insulet’s intricate insulin pump. As a result of this herculean effort by Insulet, Flex was able to successfully manufacture the Omnipod product to Insulet’s specifications on a large scale, time efficient, accurate, and affordable basis.
49.The 2016 Flex Agreement provides that “Supplier [Flex] … agrees that the Specifications are owned exclusively by Insulet and nothing herein shall be construed as transferring any right, title or interest of any kind or nature whatsoever to Supplier.” (Section 21.b). A true and correct copy of the public 2016 Flex Agreement is attached hereto as Exhibit A (“Ex. A”).
50. Section 3.a provides the definition of Specifications, and includes Drawings, specifications, test instructions, quality instructions, manufacturing instructions, assembly instructions, and bills of materials:
51.At all times, Flex, its employees and contractors, and its worldwide affiliates (including Flex US and Flex MSM) have owed and continued to owe confidentiality obligations
to Insulet. Indeed, the 2016 Flex Agreement includes confidentiality provisions requiring confidential treatment of all Insulet’s information shared with Flex.
52.On information and belief, Insulet was coordinating and disclosing trade secrets to personnel from Flex, Flex US, and Flex MSM, all of which were subject to contractual confidentiality obligations.
53.Insulet entered into a Transition Services Agreement with Flex MSM on June 30, 2021.
C.Insulet’s Trade Secrets
54.Through nineteen years of development work and the investment of more than $600 million in research and development, Insulet developed extensive trade secrets concerning the development, design, manufacturing, and production the Omnipod, and in particular, the Eros and DASH versions of the Omnipod.
55.Insulet’s trade secrets related to the development, design, manufacturing, production of the Omnipod, as relevant to this action, include at least the following, individually and in combination, (collectively, the “Insulet Trade Secrets”):
•detailed product drawings;
•quality control systems;
•process validation procedures;
•8,000 pages of detailed manufacturing specifications;
•the specific ordering of the manufacturing process;
•Insulet’s suppliers for its 72 components of the Omnipod;
•pricing information for all components of the Omnipod;
•manufacturing techniques and know-how;
•software with complex security protocols for the operation of the Omnipod, the PDM and smartphone app, and the communications between these components;
•know-how concerning integration of a continuous glucose monitor (CGM) and an insulin delivery pump into a single device;
•negative know-how including information concerning techniques that do not work or do not work well based on years of trial and error; and
•confidential communications between Insulet and regulators worldwide, including but not limited to feedback provided by regulators in response certain Insulet designs and the specific steps that Insulet took in response to that feedback.
56.Insulet developed each category of the Insulet Trade Secrets over many years of extensive development and engineering work and expensive and time-consuming trial and error.
57.Each category of the Insulet Trade Secrets is commercially valuable to Insulet because of its secrecy.
58.Insulet has taken extensive steps to protect its trade secret information, including:
a.Placing confidentiality obligations on Insulet’s employees and contracting parties, including Flex and all Flex affiliates;
b.Entering into confidentiality agreements prior to sharing any confidential information with third parties;
c.Physically securing Insulet’s facilities;
d.Employing password protection, encryption and other computer security technologies, both on Insulet’s computer system and on the Omnipod device; and
e.Limiting the distribution of confidential information to those employees and contractors with a need to know that confidential information.
59.None of the Insulet Trade Secrets is publicly available. Nor can they be determined through public means.
60.As Insulet’s longtime contract manufacturer, Flex had access to the Insulet Trade Secrets.
61.As former Insulet executive employees who subsequently worked with Flex on behalf of EOFlow, each of Malave, DiIanni, and Welsford had access to the Insulet Trade Secrets.
62.Each of the EOFlow Defendants had improper access to the Insulet Trade Secrets through Flex, Malave, DiIanni, and Welsford.
D.Defendants’ Misappropriation of Insulet’s Trade Secrets
63.EOFlow markets the EOPatch as part of the “EOPATCH Insulin Management System,” which also includes (1) a controller in the form of either a specialized control device called an Advanced Diabetes Manager (“ADM”) or a smartphone application called “Narsha”; and (2) an application called EOBridge for the monitoring of blood glucose and insulin delivery.
64.EOFlow Ltd. was founded in Seoul in 2011, focusing on low-cost disposable “patch-like” drug delivery solutions based on electro-osmotic pumps, which are driven by electric fields across membranes between electrodes. By 2012, EOFlow had developed a protype of its patch-pump device, focusing on specific issues unique to electro-osmotic pumps. EOFlow’s 2012 prototype looked nothing like Insulet’s Omnipod products:
65.By 2015, the design of the EOPatch had evolved, as EOFlow sought to distinguish the look-and-feel of its patch pump from Insulet’s Omnipod products. EOFlow highlighted the distinct profile of its product as compared to the Omnipod, which it labelled “Competitor” in the image from the EOFlow website below:
66.In January 2016, EOFlow entered into a joint development and collaboration agreement for manufacturing design with the principal manufacturer of Insulet’s Omnipod product: Flex. Flex was in possession of all information required to manufacture Insulet’s Omnipod product at that time. On information and belief, EOFlow engaged Flex to design manufacturing processes for EOFlow’s EOPatch.
67.The following year, by October 2017, EOFlow hired Insulet’s former Chief Operating Officer, Malave, as President of EOFlow Inc.
68.Upon information and belief, by no later than 2018, EOFlow was using DiIanni as a consultant.
69.In this same period—between 2016 and 2018—EOFlow undertook a complete redesign of the EOPatch. By February 2018, the design had been transformed to appear as it does today, which uses a design plainly intended to be a clone of the Omnipod:
Omnipod (left) and EOPatch (right)
70.Whereas it took Insulet nineteen years and over $600 million in research and development to bring the DASH version of its Omnipod System to market, it took EOFlow at most five (5) years—from 2016 (at the earliest) to 2021—to abandon its initial EOPatch design and to redesign, manufacture, achieve regulatory approval in Korea, and provide to Korean users its current EOPatch product as an Omnipod clone.
71.Based upon information published by EOFlow since it became a publicly traded company in 2018, EOFlow’s total research and development expenditures during this period was, on information and belief, approximately $10-15 million, or less than 3% of the research and development expenditures made by Insulet through the development of the DASH version of Omnipod.
72.EOFlow is also using the Insulet Trade Secrets to expand into market segments outside of insulin delivery. For example, EOFlow established a subsidiary, Pharmeo Inc. to develop and commercialize non-insulin wearable drug pumps. EOFlow also established SanPlena, LLC, a joint venture with Zihipp, LLC, a UK-based biopharmaceutical company, to develop drug delivery for obesity and nonalcoholic steatohepatitis (“NASH”) disease. EOFlow has publicly stated its intent to leverage the EOPatch as a “core platform technology” for these businesses.
73.EOFlow knowingly engaged Flex, and hired, as employees and/or contractors DiIanni, Malave, and Welsford, to access and misappropriate the Insulet Trade Secrets.
74.EOFlow’s misuse of the Insulet Trade Secrets extended beyond product design, development, and manufacture into regulatory approval. In particular, EOFlow announced in a press release that “preparations for EOPATCH FDA 510(k) approval were led by Dr. Ian Wellsford [sic], who serves as chief technology officer in the United States.” The article further noted that Welsford “already led FDA approval of U.S. competitor Insulet products, so he expects to play a major role in the FDA 510(k) approval of EOPatch.” Attached hereto as Exhibit B (“Ex. B”) is a true and correct copy of a machine-generated English translation of the EOFlow press release, dated December 27, 2022, that was published in Korean on EOFlow’s website at http://eoflow.com/news/news_010100.html?bmain=view&uid=146 (last accessed August 2, 2023).
75.Each of Flex, Malave, DiIanni, and Welsford, had access to the Insulet Trade Secrets.
76.Flex, Malave, DiIanni, and Welsford worked with EOFlow to use the Insulet Trade Secrets to design the EOPatch as an Omnipod clone and implement the manufacturing and
commercialization processes for the EOPatch that each knew would work as it did for the Omnipod product, thus overcoming the problems that every other company has had in trying to develop an insulin patch pump. This work was not “independent reverse engineering,” but rather the unlawful theft of the Insulet Trade Secrets.
77.The theft of Insulet’s proprietary manufacturing processes embodied in the Insulet Trade Secrets is apparent not only from EOFlow’s truncated development cycle (a quarter of the time or less of Insulet and around 3% or less of the cost), but it is also apparent from a detailed examination of the EOPatch.
78.EOFlow knowingly, willfully, and maliciously received and misappropriated, and is now further misusing and misappropriating, the Insulet Trade Secrets with knowledge that the Insulet Trade Secrets were indeed trade secrets, and further that Flex, Malave, DiIanni, and Welsford each owed confidentiality obligations to Insulet to maintain the confidentiality of those Insulet Trade Secrets.
E.Insulet’s Patents
79.Insulet’s Omnipod pump is protected by numerous issued U.S. patents, including those listed on Insulet’s website pursuant to 35 U.S.C. § 287(a). This case involves U.S. Patent Nos. 11,229,741; 10,420,883; and 9,402,950 (collectively, the “Patents-in-Suit”).
80.Each of the Patents-in-Suit relate to a “clutch mechanism” for advancing a leadscrew and plunger inside a pump device. Each of these patents derives from a U.S. provisional application, Application No. 61/618,028, which was filed on March 30, 2012. The three patents, all entitled “Fluid delivery device, transcutaneous access tool and fluid drive mechanism for use therewith,” share a common specification, and were issued to the same inventors, including Defendant Steven DiIanni, Ian McLaughlin, Jason Brian O’Connor, Robert Campbell, and Kevin Schmid.
81.The common specification of the Patents-in-Suit describes the then-existing need for therapeutic fluid pumps with improved mechanisms for driving fluid from a reservoir into the patient through a “transcutaneous access tool” such as a needle or a soft cannula. As a solution, the patents teach and claim a “clutch mechanism” that reduces “the number of fluid path prime pulses needed to prime the pump” and better assures “a full and proper priming of the fluid path before placement on the body.”
82.Specifically, as shown in the figure reproduced below, the patents describe a fluid drive mechanism that includes a threaded elongated shaft or “leadscrew” (152) with external threads extending from a plunger (136) received in the reservoir (130). As described in the patents, a second elongated shaft with internal threads, called a “tube nut” (154), threadably engages the leadscrew (152) and may be driven by a drive wheel (156) via a clutch mechanism (160).
83.As described in the patents, when the reservoir is empty, the plunger is extended and positioned at one end of the reservoir such that the plunger is extended and the clutch
mechanism is disengaged. When the reservoir is filled and the plunger moves to the opposite (retracted) end of the reservoir, the clutch mechanism remains disengaged to allow the tube nut (154) to pass into an elongated cylindrical bore (along the drive axis) of a hub of the drive wheel (156). The clutch mechanism may then be engaged such that rotation of the drive wheel causes the clutch mechanism to rotate the tube nut (154), which causes the leadscrew (152) to advance the plunger into the reservoir (130) to deliver its fluid.
84.The patents explain certain benefits of this mechanism:
By using a clutch mechanism, the engagement between the leadscrew and the nut occurs at assembly, and thus no rotation is needed for the nut to engage the leadscrew by operation of the device. This reduces the number of fluid path prime pulses to prime the pump and assures a full and proper priming of the fluid path before placement on the body. The clutch mechanism also enables the changing of thread pitch for other drug applications without a need to redesign the tilt nut used in fluid driving mechanisms in other existing pumps.
85.The ’741 Patent duly issued on January 25, 2022, and is listed on Insulet’s website pursuant to 35 U.S.C. § 278(a). A true and correct copy of the ’741 Patent is attached hereto as Exhibit C (“Ex. C”).
86.The ’883 Patent duly issued on September 24, 2019, and is listed on Insulet’s website pursuant to 35 U.S.C. § 278(a). A true and correct copy of the ’883 Patent is attached hereto as Exhibit D (“Ex. D”).
87.The ’950 Patent duly issued on August 2, 2016, and is listed on Insulet’s website pursuant to 35 U.S.C. § 278(a). A true and correct copy of the ’950 Patent is attached hereto as Exhibit E (“Ex. E”).
88.The Patents-in-Suit are valid and enforceable.
89.Insulet is the owner and assignee of the Patents-in-Suit and holds the right to sue for and recover damages for infringement thereof, including past infringement.
F.Insulet’s Trade Dress
90.In addition to the substantial investment Insulet made in building a manufacturing process, Insulet put considerable thought into the design of its Omnipod line of products. While the high-tech systems contained within the Omnipod were designed primarily with functional considerations in mind, the exterior design of the Omnipod product was designed with a focus on creating a brand for Insulet. Consistent with Insulet’s broader company mission, the Omnipod “Pod” was designed to convey a product more akin to a digital assistant than a healthcare product. These considerations not only informed Insulet’s design of the sculpted product, but also its color, which was deliberately chosen to lend a neutral, harmless tone to the product, as shown below:

91.Since its launch, the Omnipod’s “Pod” design has become synonymous with the company’s brand. Indeed, when Insulet held its initial public offering in 2007, it launched under the ticker “PODD” as a homage to its flagship product and the “Pod” branding it was working to create.
92.Insulet has incorporated the “Pod” design into every aspect of its branding. For example, Insulet uses the “Pod” shape as the primary visual symbol in the Omnipod logo, as depicted below:
93.In addition to the Omnipod logo, Insulet has used the shape and appearance of the Omnipod as a marketing element throughout all of its marketing and advertising materials in an effort to build a brand identity centered on the shape of its flagship product. As displayed in the materials below, Insulet has consistently used the design of the Omnipod “Pod” to advertise to people needing insulin and who are seeking a product designed for them and their lifestyle.
94.As Insulet and the Omnipod have become more and more well-known in the relevant markets, Insulet’s advertisements and marketing materials have increasingly relied on the appearance of the Omnipod as the prominent source-identifier for its products, as the materials below show:
95.Insulet’s efforts to establish its brand identity goes hand in hand with the technological success of its product and the satisfaction of its consumers. Market surveys show that 97% of users would recommend the Omnipod to a friend; 93% say that Insulin delivery is easier with the Omnipod System, 96% say that Insulin delivery is easier with the Omnipod System than daily injections, and 90% of users state that they feel more in control of their
diabetes using the Omnipod System. This positive goodwill is directly tied to Insulet’s consistent use of the Omnipod “Pod” branding over nearly 20 years in the market. In short, the Omnipod product design has become distinctive and indicative of a product held in high esteem in the relevant market.
96.Based on its consistent use and promotion of the Omnipod “Pod” design, Omnipod has developed extensive secondary meaning and goodwill in the “Pod” trade dress, and the relevant consumer identifies the “Pod” trade dress exclusively with Insulet.
G.EOFlow’s Infringement of Insulet’s Trade Dress
97.By February 2018, after hiring Insulet’s contract manufacturer and three former high-level Insulet employees, EOFlow had transformed the design of its product to appear as it does today, which clearly copies the trade dress of the Omnipod:
98.The EOPatch is now, in the eyes of an everyday consumer, confusingly similar to the Omnipod. Both products are white, four-sided, rounded-edged, body-worn pumps with a single, light-colored adhesive patch attached to the bottom surface of the pump and extending about a centimeter around the perimeter of the pump shell. The pump dimensions are also nearly identical:
| | | | | | | | |
| Omnipod dimensions | EOPatch dimensions |
| Height | 1.45 cm | 1.45 cm |
| Width | 3.9 cm | 3.9 cm |
| Length | 5.2 cm | 4.95 cm |
| Weight | 26 g | 26 g |
99.The color, shape, and dimensions of the casing are confusingly similar to the non-functional trade dress of the Omnipod.
100.On information and belief, EOFlow’s copying of the non-functional design elements listed above represents a willful attempt to copy the look and feel of the Omnipod’s protected design so as to trade off Insulet’s long established goodwill.
101.Although its drive system is a clone of the Omnipod, the EOPatch is an inferior product to Omnipod. For example, the mechanism by which the cannula of the EOPatch is inserted into the user is via a manual lever considered to be less repeatable and inferior to the automated cannula insertion offered by the Omnipod product. Therefore, consumer confusion resulting from EOFlow’s trade dress infringement is likely to tarnish and dilute the goodwill associated with the Omnipod trade dress.
H.EOFlow Has Imported the EOPatch for a Commercial Demonstration and Is Poised to Launch the Patch and its Accompanying System in the United States
102.EOFlow imported one or more samples of its infringing patch pump, the EOPatch, into the United States and displayed that sample at the 78th Scientific Sessions of the American Diabetes Association in Orlando, Florida in June 2018 (the “2018 ADA Meeting”).
103.On December 27, 2022, EOFlow submitted an application under section 510(k) of the Food, Drug, and Cosmetic Act, 21 U.S.C. § 360(k), seeking FDA approval of the EOFlow pump in the United States. As a result of EOFlow’s submission, and EOFlow’s public statements related to that submission (as discussed further below), EOFlow intends to and will launch its patch pump in the United States imminently.
104.By way of background, as a general matter, medical devices are subject to a rigorous premarket approval process. This premarket approval process is the means by which the FDA ensures that medical devices are both safe and effective. Depending on the type of medical device, this process can take upwards of a decade to complete and cost hundreds of millions of dollars. However, a device may avoid this premarket approval process if the device manufacturer can establish to the FDA that the device is “substantially equivalent” to a device that has already been approved.
105.Where a device manufacturer intends to launch a device under the “substantially equivalent” exception to the normal premarket approval process, the manufacturer is required by Section 510(k) of the Food, Drug, and Cosmetic Act, to notify the FDA of its intent to market such a device in the United States at least 90 days in advance of a company’s launch of a medical device in the United States. This submission must compare its submitted device to one or more similar legally marketed devices and make and support the submitter’s claim of substantial equivalence.
106.Upon information and belief, EOFlow’s December 27, 2022 Section 510(k) submission claimed that its device was substantially similar to the FDA-approved Insulet Omnipod.
107.In public statements accompanying the December 27, 2022 Section 510(k) submission, EOFlow acknowledged that the submission was the critical next step in its global expansion plan. In public reports, EOFlow founder and CEO Jesse Kim is reported as saying “I am very proud to begin the US clearance process. With this submission, we have taken a major step forward in entering the world’s largest diabetes market.” EOFlow Submits Application to the U.S. FDA for its Wearable Insulin Pump 'EOPatch', CISION PR Newswire Blog (December 27, 2022, 02:48 ET) (“CISION PR Newswire Blog”), https://www.prnewswire.com/news-releases/eoflow-submits-application-to-the-us-fda-for-its-wearable-insulin-pump-eopatch-301710174.html. In fact, Mr. Kim acknowledged that because its knockoff EOPatch is EOFlow’s only device, EOFlow intends to use this 510(k) submission as the authority to market its entire product line in the United States. Specifically, he is reported as acknowledging that “as the 510(k) device shares a common backplane with all EOFlow products, this submission is an important step in our efforts to commercialise extended wear and closed loop systems in the US.” Id.
108.Based on third-party data sourced from 2012 to 2016, on average, FDA takes approximately six months to approve devices submitted through the 510(k) process. As evidenced in the same third-party “Emergo” data, attached hereto as Exhibit F (“Ex. F”), approximately 95% of devices are approved within twelve months of submission. Ex. F at 7. As a result, it is almost certain that the EOPatch will hit the United States market this year.
109.This timeline is consistent with EOFlow’s own statements on its expected launch timeline in the United States. For example, in a February 16, 2022 interview, Mr. Kim stated that EOFlow was targeting securing FDA approval as early as the first half of 2022 and completing the launch by middle of 2023. See EOFLOW, [Edaily CEO interview] Reasons to
invest in EOFlow (February 18, 2022), http://eoflow.com/eng/news/news_010100.html?bmain=view&uid=134 (citing Korean language article at https://pharm.edaily.co.kr/news/read?newsId=01302166632231504&mediaCodeNo=257).2
110.This timeline largely appears to be still on track. In the December 27, 2022 press release announcing its Section 510(k) submission, EOFlow reported that the company was “currently negotiating terms with potential U.S. distributors and aims to conclude a distribution agreement within the first half of 2023.” See CISION PR Newswire Blog, supra ¶ 107.
I.Unable to Bring its Own Patch Pump to Market, Medtronic Has Announced Its Intent to Acquire EOFlow and the Fruits of Its Misappropriation and Infringement for $738 Million
111.EOFlow now seeks to capitalize on its blatant theft of Insulet’s intellectual property. On May 25, 2023, EOFlow and Medtronic plc announced that they entered into a set of definitive agreements for Medtronic to acquire EOFlow for $738 million.
112.Shortly after Medtronic announced their agreement to acquire EOFlow, Medtronic CEO Geoff Martha appeared in an interview with CNBC Anchor Jon Fortt and discussed the significance of EOFlow to Medtronic. Among other things, Mr. Martha stressed the importance of the patch market as the most rapidly growing segment of the insulin pump market, and that the acquisition of EOFlow would significantly speed up Medtronic’s market entry into the patch pump market and make Medtronic the second player (other than Insulet) on the market. Mr. Martha also noted that EOFlow accomplished something that others (other than Insulet) have failed to do—manufacture a patch pump efficiently at scale. Mr. Martha remarked that the manufacturing capabilities for patch pumps is very difficult and that several companies have failed, but that EOFlow has succeeded by pulling in product design engineers and
2 A machine-generated translation of the Korean-language article quotes Mr. Kim as saying “[W]e expect to apply for FDA approval as early as the first half of this year and complete the launch by the middle of next year.”
manufacturing engineers to be able to manufacture a patch pump at scale, and thus has accomplished something that many others have tried to do and failed. Mr. Martha also discussed the fact that Medtronic has been working both internally and through acquisitions to develop a patch pump, but the only one to emerge from such efforts was EOFlow.
113.As indicated by Medtronic CEO Geoff Martha during the interview with Jon Fortt, not only did Medtronic’s internal developments to develop a patch pump fail to yield a commercial product, but its previous acquisition efforts have also failed. For example, Medtronic was reportedly in advanced negotiations to acquire an Israeli medical device company called Triple Jump, that is (or was) developing an insulin patch pump, for $300 million in October 2021. Medtronic has not capitalized on any such investments with any commercialized patch pump technology.
114.At Medtronic’s American Diabetes Association (ADA) Analyst and Investor Briefing on June 25, 2023, Que Dallara, Medtronic’s Executive Vice President and President, Diabetes, reiterated Mr. Martha’s excitement over EOFlow’s manufacturing capabilities: “One of the reasons we were very excited by EOFlow is their manufacturing, and how much progress they’ve made on it, so we don’t intend to change the form factor [of the EOFlow product]…. [T]he manufacturing is one of the biggest challenges with getting a patch up to market. You got to make a device that is super accurate to dose insulin…. [EOFlow brings] a lot of assets in that regard.” (emphasis added).
115.Through the EOFlow Defendants’ willful and malicious misappropriation of Insulet’s proprietary and trade secret technology, they have been able to install a manufacturing line capable of producing three million units of its product per year at its new facility in Gonjiam, Korea.
COUNT I (AGAINST ALL DEFENDANTS):
MISAPPROPRIATION OF TRADE SECRETS UNDER THE
DEFEND TRADE SECRETS ACT (DTSA)
(18 U.S.C. § 1836 ET SEQ.)
116.Insulet incorporates the preceding paragraphs 1-115 of this Complaint as if fully set forth herein.
117.Each of the Defendants has committed trade secret misappropriation in violation of the Defend Trade Secrets Act, 18 U.S.C. § 1836 et seq.
118.Insulet, through years of investments and development work, developed the Insulet Trade Secrets, described in detail, supra §§ V.A, V.C.
119.All of the Insulet Trade Secrets derive economic value from their secrecy.
120.Insulet employs the Insulet Trade Secrets for commercial use in interstate commerce.
121.Insulet has and continues to take reasonable measures to protect the confidentiality of the Insulet Trade Secrets, including, through requiring employees and consultants to sign confidentiality agreements, employing physical security, encryption and the other measures described supra § V.C.
122.All three Flex Defendants owed and continue to owe contractual obligations to Insulet not to use or disclose the Insulet Trade Secrets, other than for the benefit of Insulet.
123.All three Individual Defendants owed and continue to owe confidentiality obligations to Insulet, both by contract and operation of law, not to use or disclose the Insulet Trade Secrets, other than for the benefit of Insulet.
124.The Flex Defendants all had and have access to the Insulet Trade Secrets.
125.The Individuals Defendants all had, and on information and belief, have access to the Insulet Trade Secrets.
126.Each of the Flex Defendants and the Individual Defendants, through improper means, wrongfully disclosed the Insulet Trade Secrets to EOFlow in order to develop the EOPatch device.
127.At the direction of EOFlow Ltd., EOFlow Inc. impermissibly acquired and accessed, and continued to impermissibly access the Insulet Trade Secrets from EOFlow Ltd. as part of its efforts to obtain approval for and commercialize the EOPatch in the United States.
128.Each of the Flex Defendants and the Individual Defendants, through improper means, wrongfully used the Insulet Trade Secrets to develop the infringing EOPatch device.
129.The EOPatch device has been and will be used in interstate commerce.
130.EOFlow received and misused the Insulet Trade Secrets knowing or having reason to know that the Flex Defendants and Individual Defendants conveyed them and used them through improper means, and in violation of legal obligations owed to Insulet.
131.EOFlow Inc. impermissibly acquired and accessed, and continues to impermissibly have access to the Insulet Trade Secrets through EOFlow Ltd.
132.Each of EOFlow, the Flex Defendants and the Individual Defendants misappropriated the Insulet Trade Secrets willfully and maliciously.
133.Each of EOFlow, the Flex Defendants and the Individual Defendants continue to misappropriate and improperly disclose the Insulet Trade Secrets willfully and maliciously, and continue to do so.
134.For years, Defendants concealed their misappropriation of Insulet’s trade secrets. The EOPatch device itself was unavailable to Insulet until very recently. Although EOFlow reportedly made the EOPatch device available to users in Korea by April 2021, on information and belief, access to the EOPatch device was limited, with only a few hundred patients using the
device as of December 2022. In addition, EOFlow did not begin expanding its market reach outside of Korea until late 2022. As a result, Insulet did not discover Defendants’ misappropriation of the Insulet Trade Secrets until 2023, when Insulet was able to obtain a sample EOPatch product that was distributed at a trade show in Berlin, Germany during the last week of January. Analysis of that sample revealed, for the first time, that practically all aspects of the EOFlow product was substantially similar to the Omnipod.
135.Insulet is being irreparably harmed by the Defendants’ ongoing misappropriation, in addition to pecuniary harm it has suffered.
136.As set forth through this Complaint, acts in furtherance of this offense were committed in the United States.
COUNT II (AGAINST FLEX, FLEX US AND FLEX MSM):
BREACH OF CONTRACT
137.Insulet incorporates the preceding paragraphs 1-136 of this Complaint as if fully set forth herein.
138.All of the Flex Defendants have and continue to owe confidentiality obligations to Insulet under the 2007 and 2016 Flex Agreements.
139.The 2007 and 2016 Flex Agreements are valid contracts supported by consideration.
140.Insulet has at all times performed under the 2007 and 2016 Agreements.
141.The Flex Defendants continue to be contractually obligated to maintain all Insulet information under the 2007 and 2016 Flex Agreements, including the Insulet Trade Secrets, in confidence and not to disclose any such information to any third party and not to use any such information, except with the express permission of Insulet.
142.The Flex Defendants have breached their contract with Insulet by, as described above, disclosing Insulet’s information under the 2007 and 2016 Flex Agreements, including the Insulet Trade Secrets, to EOFlow and misusing it for the benefit of EOFlow.
143.At no point has Insulet given the Flex Defendants permission to transmit Insulet’s information under the 2007 and 2016 Agreements to EOFlow or to use it for the benefit of EOFlow.
144.Insulet has and continues to experience damage from the Flex Defendants’ contractual breaches.
COUNT III (AGAINST EOFLOW LTD.):
INFRINGEMENT OF THE ’741 PATENT
(35 U.S.C. § 271)
145.Insulet incorporates the preceding paragraphs 1-144 of this Complaint as if fully set forth herein.
146.Defendant EOFlow has imported into the U.S. and offered to sell a fluid pump device that infringes the ’741 Patent. Specifically, EOFlow imported at least one sample of the EOPatch device for display at the 2018 ADA Meeting.
147.As evidenced in the sample of the EOPatch device obtained by Insulet in 2023 and the corresponding product manual, attached hereto as Exhibit G (“Ex. G”),3 the EOPatch is a fluid delivery device that (1) includes a fluid reservoir; (2) a drive mechanism for driving fluid from the fluid reservoir; (3) a plunger within the fluid reservoir; (4) a drive rod extending from the plunger; (5) a nut threadedly engaged with the driving rod; (6) a drive wheel; and (7) a clutch mechanism coupled to the drive wheel and configured to allow the nut to pass through the clutch mechanism when disengaged, and to grip the nut when engaged such that the drive wheel rotates the nut to bias the drive rod and the plunger within the fluid reservoir. An illustrative claim chart identifyi
3 The EOPatch was branded as the GlucoMen Day Pump in Europe.
ng the features of the EOPatch corresponding to the elements of claim 11 of the ’741 patent is attached hereto as Exhibit H (“Ex. H”).
148.EOFlow knew or should have known of its infringement of the ’741 patent. Defendant DiIanni is the first-named inventor of the ’741 patent and EOFlow was on notice of the ’741 patent and its contents through its work with the Individual Defendants and Flex in their collective efforts to design and develop the infringing EOPatch device. In addition, the patent was listed on Insulet’s patent marking website for the Omnipod device.
149.Defendants’ infringement of the ’741 Patent has been and continues to be deliberate and willful, and this is therefore an exceptional case warranting an award of enhanced damages and attorneys’ fees pursuant to 35 U.S.C. §§ 284-285.
150.As a result of EOFlow’s infringement of the ’741 Patent, Insulet has suffered and will suffer irreparable harm, in addition to monetary damages.
COUNT IV (AGAINST EOFLOW LTD.):
DECLARATORY JUDGMENT OF INFRINGEMENT OF THE ’741 PATENT
(28 U.S.C. § 2201(a))
151.Insulet incorporates the preceding paragraphs 1-150 of this Complaint as if fully set forth herein.
152.EOFlow has sought FDA approval to market in the United States, and immediately upon approval, will import, sell, and offer to sell in the United States its EOPatch device, which infringes the ’741 patent.
153.A present, a genuine and justiciable controversy exists between Insulet and EOFlow regarding, inter alia, whether the manufacture, use, sale, or offer for sale in the United States, or importation into the United States, of the EOPatch device would infringe any valid and enforceable claim of the ’741 patent, either directly or indirectly, that is of sufficient immediacy and reality to warrant the issuance of a Declaratory Judgment.
154.The manufacture, use, sale, or offer for sale in the United States, or importation into the United States, of the EOPatch device does infringe, and will infringe, the ’741 patent, directly and indirectly.
155.Insulet is entitled to a declaration that EOFlow has infringed and will infringe the ’741 patent making, selling, offering for sale in the United States, or importing into the United States, the EOPatch Device.
COUNT V (AGAINST EOFLOW LTD.):
INFRINGEMENT OF THE ’883 PATENT
(35 U.S.C. § 271)
156.Insulet incorporates the preceding paragraphs 1-155 of this Complaint as if fully set forth herein.
157.Defendant EOFlow has imported and offered to sell a fluid pump device that infringes the ’883 Patent. Specifically, EOFlow imported into the United States at least one sample of the EOPatch device for display at the 2018 ADA Meeting.
158.As evidenced in the sample of the EOPatch device obtained by Insulet in 2023 and the corresponding product manual, attached hereto as Ex. G, the EOPatch is a fluid delivery device that (1) includes a fluid reservoir; (2) a transcutaneous access tool fluidly coupled to the fluid reservoir; (3) a drive mechanism for driving fluid from the fluid reservoir; (4) an elongated assembly comprising a first elongated member and a second elongated member; (5) a drive wheel; and (6) a clutch mechanism coupled to the drive wheel and configured to allow the nut to pass through the clutch mechanism when disengaged, and to grip the nut when engaged such that the drive wheel rotates the nut to bias the drive rod and the plunger within the fluid reservoir. An illustrative claim chart identifying the features of the EOFlow Pump corresponding to the elements of claim 1 of the ’883 patent is attached hereto as Exhibit I (“Ex. I”).
159.EOFlow knew or should have known of its infringement of the ’883 patent. Defendant DiIanni is the first-named inventor of the ’883 patent and EOFlow was on notice of the ’883 patent and its contents through its work with the Individual Defendants and Flex in their collective efforts to design and develop the infringing EOPatch device. In addition, the patent was listed on Insulet’s patent marking website for the Omnipod device.
160.Defendants’ infringement of the ’883 Patent has been and continues to be deliberate and willful, and this is therefore an exceptional case warranting an award of enhanced damages and attorneys’ fees pursuant to 35 U.S.C. §§ 284-285.
161.As a result of EOFlow’s infringement of the ’883 Patent, Insulet has suffered and will suffer irreparable harm, in addition to monetary damages.
COUNT VI (AGAINST EOFLOW LTD.):
DECLARATORY JUDGMENT OF INFRINGEMENT OF THE ’883 PATENT
(28 U.S.C. § 2201(a))
162.Insulet incorporates the preceding paragraphs 1-161 of this Complaint as if fully set forth herein.
163.EOFlow has sought FDA approval to market in the United States, and immediately upon approval, will import, sell, and offer to sell in the United States its EOPatch device, which infringes the ’883 patent.
164.A present, genuine, and justiciable controversy exists between Insulet and EOFlow regarding, inter alia, whether the manufacture, use, sale, or offer for sale in the United States, or importation into the United States, of the EOPatch device would infringe any valid and enforceable claim of the ’883 patent, either directly or indirectly, that is of sufficient immediacy and reality to warrant the issuance of a Declaratory Judgment.
165.The manufacture, use, sale, or offer for sale in the United States, or importation into the United States, of the EOPatch device does infringe, and will infringe the ’883 patent, directly and indirectly.
166.Insulet is entitled to a declaration that EOFlow has infringed and will infringe the ’883 patent making, selling, offering for sale in the United States, or importing into the United States, the EOPatch device.
COUNT VII (AGAINST EOFLOW LTD.):
INFRINGEMENT OF THE ’950 PATENT
(35 U.S.C. § 271)
167.Insulet incorporates the preceding paragraphs 1-109 of this Complaint as if fully set forth herein.
168.Defendant EOFlow has imported and offered to sell a fluid pump device that infringes the ’950 Patent. Specifically, EOFlow imported into the United States at least one sample of the EOPatch device for display at the 2018 ADA Meeting.
169.As evidenced in the sample of the EOPatch device obtained by Insulet in 2023 and the corresponding product manual, attached hereto as Ex. G, the EOFlow product is a fluid delivery device that (1) includes a fluid reservoir; (2) transcutaneous access tool fluidly coupled to the fluid reservoir; (3) a drive mechanism for driving fluid from the fluid reservoir; (4) a plunger within the fluid reservoir; (5) a leadscrew extending from the plunger; (6) a nut threadably engaged with the leadscrew; and (7) a drive wheel operable with a clutch mechanism coupled to the drive wheel and configured to allow the nut to pass through the clutch mechanism when disengaged and to grip the nut when engaged such that the drive wheel rotates the nut to advance the leadscrew and the plunger into the reservoir. An illustrative claim chart identifying the features of the EOPatch corresponding to the elements of claim 1 of the ’950 patent is attached hereto as Exhibit J (“Ex. J”).
170.EOFlow knew or should have known of its infringement of the ’950 patent. Defendant DiIanni is the first-named inventor of the ’950 patent and EOFlow was on notice of the ’950 patent and its contents through its work with the Individual Defendants and Flex in their collective efforts to design and develop the infringing EOPatch device. In addition, the patent was listed on Insulet’s patent marking website for the Omnipod device.
171.Defendants’ infringement of the ’950 Patent has been and continues to be deliberate and willful, and this is therefore an exceptional case warranting an award of enhanced damages and attorneys’ fees pursuant to 35 U.S.C. §§ 284-285.
172.As a result of EOFlow’s infringement of the ’950 Patent, Insulet has suffered and will suffer irreparable harm, in addition to monetary damages.
COUNT VIII (AGAINST EOFLOW LTD.):
DECLARATORY JUDGMENT OF INFRINGEMENT OF THE ’950 PATENT
(28 U.S.C. § 2201(a))
173.Insulet incorporates the preceding paragraphs 1-172 of this Complaint as if fully set forth herein.
174.EOFlow has sought FDA approval to market in the United States, and immediately upon approval, will import, sell, and offer to sell in the United States its EOPatch device, which infringes the ’950 patent.
175.A present, genuine, and justiciable controversy exists between Insulet and EOFlow regarding, inter alia, whether the manufacture, use, sale, or offer for sale in the United States, or importation into the United States, of the EOPatch device would infringe any valid and enforceable claim of the ’950 patent, either directly or indirectly, that is of sufficient immediacy and reality to warrant the issuance of a Declaratory Judgment.
176.The manufacture, use, sale, or offer for sale in the United States, or importation into the United States, of the EOPatch device does infringe, and will infringe the ’950 patent, directly and indirectly.
177.Insulet is entitled to a declaration that EOFlow has infringed and will infringe the ’950 patent making, selling, offering for sale in the United States, or importing into the United States, the EOPatch device.
COUNT IX (AGAINST EOFLOW LTD. AND EOFLOW INC.):
FALSE DESIGNATION OF ORIGIN (TRADE DRESS)
(15 U.S.C. §1125)
178.Insulet incorporates the preceding paragraphs 1-177 of this Complaint as if fully set forth herein.
179.Insulet’s trade dress claim relates only to the non-functional elements of the Omnipod design. These elements include but are not limited to: (1) the white, substantially opaque color, (2) the four-sided, rounded-edged, “pod-shaped” body approximately 1.5 x 4 x 5 centimeters in diameter, (3) the placement of the “pod-shaped” body of the apparatus on a single, light-colored adhesive patch that extends approximately a centimeter around the body of the “pod.” Each of these protected elements, by themselves and in combination, are entirely ornamental, incidental, and arbitrary. None are necessary for the product to function or, indeed, useful for carrying out the product’s function as a tubeless insulin pump.
180.That these ornamental elements are entirely non-functional is most plainly established by comparing the Insulet Omnipod with the Cequr Simplicity and the Mannkind V-Go products, the only other FDA-approved tubeless insulin pumps. Although these other pumps are available to patients in the United States, they are highly differentiated from Omnipod and their commercial adoption is much more limited than Omnipod. Omnipod remains the only widely-used insulin patch pump approved by FDA and available to patients in the United States.
These other pumps, which are shown below, possess none of the protected elements of Insulet’s Omnipod trade dress even though they perform some of the functions of the Omnipod. Moreover, any functional difference between these other pumps and the Omnipod are unrelated to product design.
181.Likewise, the CeQur Simplicity and Mannkind V-Go have substantially different dimensions than both the Insulet Omnipod and the EOFlow EOPatch:
| | | | | | | | | | | | | | |
| Omnipod dimensions (cm) | EOPatch dimensions (cm) | CeQur Simplicity dimensions (cm) | Mannkind V-Go dimensions (cm) |
| Height | 1.45 | 1.45 | 0.8 | 1.3 |
| Width | 3.9 | 3.9 | 3.5 | 3.3 |
| Length | 5.2 | 4.95 | 6.3 | 6.1 |
182.To be sure, the designs of the CeQur Simplicity and Mannkind V-Go are merely representative of two possible permutations of ornamental, incidental, or arbitrary design
parameters that comprise two of many alternative designs available for the EOFlow product, or any tubeless insulin pump.
183.All circumstantial considerations also show that the protected elements of the Omnipod trade dress are non-functional. Most notably, there is no utility patent claiming these features of the design and Insulet does not market the Insulet Omnipod based on the utilitarian advantages provided by the protected elements of the trade dress.
184.Absent the Court’s intervention, American consumers are likely to be confused as to the source of the EOPatch if it is allowed to enter the market in its current form.
185.That is because, as displayed above, the product designs are practically identical.
186.Moreover, the goods themselves are likewise identical.
187.In addition, the channels of trade, advertising, and classes of prospective purchasers together are also the same for both the Omnipod and the EOPatch. Once it launches in the United States, the EOPatch, like the Omnipod, is likely to be sold to consumers through the pharmacy channel. Likewise, the EOPatch is likely to be primarily advertised directly to patients and patients’ families and physicians. Finally, the class of prospective purchasers for both the EOPatch and the Omnipod are the exact same: individuals with diabetes who require insulin.
188.The likelihood of consumer confusion is particularly high where, as here, EOFlow has gone out of its way to gratuitously copy Insulet’s protected trade dress. Because EOFlow copied not only the Omnipod’s functional elements, but its ornamental and arbitrary elements—such as its color, size, and shape—the Court can, and should, infer that EOFlow did so for the purpose of improperly freeloading on the goodwill that Insulet has cultivated over nearly 20
years with its Omnipod product. If consumers were not likely to be confused, EOFlow would not have gone out of its way to copy Insulet’s trade dress.
189.Finally, the likelihood of confusion is greatest where, as here, Insulet’s Omnipod trade dress is strong and highly distinctive. As explained previously, since its launch in 2005, Insulet has developed the Omnipod brand and trade dress to be an immediately recognizable indicator of Insulet’s Omnipod product and extensively advertises to consumers using little more than Insulet’s protected trade dress as the primary indicator of source.
190.As a result of the success of Insulet’s Omnipod product line as well as the substantial advertising and marketing efforts undertaken by Insulet to promote its Omnipod product by emphasizing the Omnipod “Pod” product design the Omnipod “Pod” product design has become associated with substantial good will in the relevant market.
191.While the EOPatch is a clone of Insulet’s Omnipod, it is, on information and belief, inferior in its quality, reliability, and security.
192.The launch of the EOPatch copying Insulet’s protected trade dress without authorization will thus necessarily dilute the value of Insulet’s Omnipod design by causing diminution of the individuality and uniqueness of the mark, irreparably harming Insulet.
193.EOFlow’s unauthorized use of the Insulet Omnipod protected trade dress is likely to cause confusion, or to cause mistake, or to deceive, in violation of 15 U.S.C. § 1125.
194.EOFlow’s unauthorized use of the Insulet Omnipod protected trade dress, or colorable imitations thereof, has caused and is likely to cause irreparable injury to Insulet and Insulet has no adequate remedy at law for the damage to its reputation and goodwill. Insulet will continue to be irreparably harmed unless EOFlow is permanently enjoined from their infringing and illegal conduct, pursuant to Section 34 of the Lanham Act, 15 U.S.C. § 1116.
195.Pursuant to Section 35 of the Lanham Act, 15 U.S.C. § 1117, Insulet is entitled to recover EOFlow’s profits and any damages Insulet has sustained, in an amount to be assessed by the Court.
196.As a result of EOFlow’s infringement of Insulet’s trade dress in violation of 15 U.S.C. § 1125, Insulet has suffered and will suffer irreparable harm, in addition to monetary damages.
COUNT X (AGAINST EOFLOW LTD. AND EOFLOW INC.):
DECLARATORY JUDGMENT FALSE DESIGNATION OF ORIGIN (TRADE DRESS)
(28 U.S.C. § 2201(a))
197.Insulet incorporates the preceding paragraphs 1-196 of this Complaint as if fully set forth herein.
198.EOFlow has sought FDA approval to market in the United States, and immediately upon approval, will import, sell, and offer to sell in the United States its EOPatch device, which infringes Insulet’s trade dress in violation of 15 U.S.C. § 1125.
199.A present, genuine, and justiciable controversy exists between Insulet and EOFlow regarding, inter alia, whether the sale, or offer for sale in the United States of the EOPatch device would infringe Insulet’s trade dress in violation of 15 U.S.C. § 1125, that is of sufficient immediacy and reality to warrant the issuance of a Declaratory Judgment.
200.The sale, or offer for sale in the United States of the EOPatch device does infringe, and will infringe Insulet’s trade dress in violation of 15 U.S.C. § 1125.
201.Insulet is entitled to a declaration that EOFlow has infringed and will infringe Insulet’s trade dress in violation of 15 U.S.C. § 1125 by selling or offering to sell the EOPatch device in the United States.
COUNT XI (AGAINST EOFLOW LTD. AND EOFLOW INC.):
MASSACHUSETTS TRADEMARK DILUTION AND INJURY TO BUSINESS REPUTATION
(M.G.L. ch. 110H, § 13)
202.Insulet incorporates the preceding paragraphs 1-201 of this Complaint as if fully set forth herein.
203.Insulet has extensively and continuously promoted and used the Insulet Omnipod trade dress to the point where the trade dress has become well known and distinctive. Particularly, within the community of the tens of millions of individuals suffering from diabetes and physicians who treat individuals for diabetes, the Insulet Omnipod protected trade dress is immediately recognizable, associated with the Insulet Omnipod brand, and is associated with substantial goodwill in the relevant community.
204.EOFlow’s use of the Insulet Omnipod protected trade dress, or colorable imitations thereof, constitutes infringement of protected trade dress that dilutes or is likely to dilute the distinctiveness of the Insulet Omnipod protected trade dress by eroding the public’s exclusive identification of the Insulet Omnipod protected trade dress with Insulet, tarnishing and degrading the positive associations and prestigious connotations of the Insulet trade dress, and otherwise diminishing the reputation and capacity of the Insulet Omnipod trade dress to identify and distinguish goods and services.
205.EOFlow’s dilution of the Insulet Omnipod protected trade dress, or colorable imitations thereof, has caused and is causing irreparable injury to Insulet and Insulet has no adequate remedy at law for the harm to its reputation and goodwill. Insulet will continue to be irreparably harmed unless EOFlow is permanently enjoined from its infringing and illegal conduct, pursuant to M.G.L. ch. 110H, § 13.
206.As a result of EOFlow’s dilution of Insulet’s trade dress and injury to Insulet’s business reputation in violation of M.G.L. ch. 110H, § 13, Insulet has suffered and will suffer irreparable harm, in addition to monetary damages.
COUNT XII (AGAINST EOFLOW LTD. AND EOFLOW INC.):
DECLARATORY JUDGMENT MASSACHUSETTS TRADEMARK
DILUTION AND INJURY TO BUSINESS REPUTATION
(28 U.S.C. § 2201(a))
207.Insulet incorporates the preceding paragraphs 1-206 of this Complaint as if fully set forth herein.
208.EOFlow has sought FDA approval to market in the United States, and immediately upon approval, will import, sell, and offer to sell in the United States its EOPatch device, which dilutes Insulet’s trade dress and injure Insulet’s business reputation in violation of M.G.L. ch. 110H, § 13.
209.A present, genuine, and justiciable controversy exists between Insulet and EOFlow regarding, inter alia, whether the sale, or offer for sale in the United States of the EOPatch device would dilute Insulet’s trade dress and injure Insulet’s business reputation in violation of M.G.L. ch. 110H, § 13, that is of sufficient immediacy and reality to warrant the issuance of a Declaratory Judgment.
210.The sale, or offer for sale in the United States of the EOPatch device does infringe, and will dilute Insulet’s trade dress and injure Insulet’s business reputation in violation of M.G.L. ch. 110H, § 13.
211.Insulet is entitled to a declaration that EOFlow has infringed and will dilute Insulet’s trade dress and injure Insulet’s business reputation in violation of M.G.L. ch. 110H, § 13.
COUNT XIII (AGAINST ALL DEFENDANTS):
UNFAIR COMPETITION AND UNFAIR OR DECEPTIVE ACTS IN CONDUCT OF TRADE OR COMMERCE
(M.G.L. ch. 93A, § 11)
212.Insulet incorporates the preceding paragraphs 1-211 of this Complaint as if fully set forth herein.
213.The parties are engaged in trade or commerce for purposes of M.G.L. ch. 93A, § 11.
214.Defendants’ misappropriation of Insulet’s intellectual property—including its trade secrets, trademarks, trade dress, and patents—constitutes an unfair method of competition and an unfair or deceptive act or practice declared unlawful by M.G.L. ch. 93A, § 2.
215.Moreover, the Defendants’ conduct in violation of M.G.L. ch. 93A took place primarily and substantially in Massachusetts. As EOFlow is aware, Insulet’s world headquarters and principal operations are, and always have been, located in Massachusetts. Insulet’s misappropriated trade secrets were physically located in Massachusetts at the time they were stolen. Insulet’s patented inventions were conceived and reduced to practice in Massachusetts. And Insulet’s protected trademarks and trade dress were designed and developed in Massachusetts and were put into commerce from Massachusetts. Moreover, the harm to Insulet and Insulet’s employees arising out of Defendants’ tortious conduct will be felt principally in Massachusetts.
216.Likewise, Defendants have substantial connections to Massachusetts beyond their tortious conduct directed specifically at Insulet and Massachusetts. Each of Malave, DiIanni, and Welsford were either resident in Massachusetts or had agreed in his Employee Nondisclosure and Development Agreements to jurisdiction in Massachusetts at the time they misappropriated Insulet’s trade secrets. Upon information and belief, EOFlow, fully aware of
Malave, DiIanni, and Welsford’s agreement to be so bound, brought on Malave and Welsford as EOFlow’s chief officers and employees, and hired DiIanni as a consultant. Moreover, upon information and belief, EOFlow did so for the specific purpose of conspiring with Malave, DiIanni, and Welsford to breach their Employee Nondisclosure and Development Agreements for the purposes of appropriating Insulet’s valuable trade secrets. Beyond these contacts, EOFlow continues to do business substantially and primarily in Massachusetts, including business that infringes and misappropriates Insulet’s valuable intellectual property, through EOFlow’s proxy entity, Ferrex Therapeutics, Inc., which has a principal place of business in Cambridge, Massachusetts.
217.The Defendants’ conduct in misappropriating and/or infringing Insulet’s intellectual property was undertaken willfully and knowingly thereby also entitling Insulet to an award of up to treble damages.
218.As a result of Defendants’ unfair competition in violation of M.G.L. ch. 93A, § 2, Insulet has suffered and will suffer irreparable harm, in addition to monetary damages.
PRAYER FOR RELIEF
WHEREFORE, Insulet respectfully demands judgment in its favor and against Defendants as follows:
a)Award on Count I, judgment to Plaintiff Insulet Corporation and against all Defendants in the amount of actual damages, a reasonable royalty, exemplary damages up to two times the amount of the damages for willful and malicious appropriation, plus reasonable attorney’s fees, plus unjust enrichment caused by Defendants’ misappropriation of Insulet’s trade secrets to the extent that it is not addressed in computing damages for actual loss, with all categories calculated
based on Defendants’ domestic and extraterritorial conduct, as provided under the Defend Trade Secrets Act, 18 U.S.C. § 1836(b)(3)(B) and 18 U.S.C. § 1837;
b)Award on Count II judgment to Plaintiff Insulet Corporation and against the Flex Defendants judgment for breach of contract in the amount of actual damages;
c)Award on Count III judgment to Plaintiff Insulet Corporation against EOFlow Ltd., that EOFlow Ltd. has imported into the U.S. and offered to sell a fluid pump device that infringes the ’741 Patent and awarding damages in the amount of actual damages, lost profits and/or a reasonable royalty and judgment that EOFlow Ltd.’s infringement of the ’741 Patent has been and continues to be deliberate and willful, and this is therefore an exceptional case warranting an award of enhanced damages and attorneys’ fees pursuant to 35 U.S.C. §§ 284-285.
d)Award on Count IV a declaratory judgment that the manufacture, use, sale, or offer for sale in the United States, or importation into the United States, of the EOPatch device does infringe, and will infringe, the ’741 patent, directly and indirectly.
e) Award on Count V judgment to Plaintiff Insulet Corporation against EOFlow Ltd., that EOFlow Ltd. has imported into the U.S. and offered to sell a fluid pump device that infringes the ’883 Patent and awarding damages in the amount of actual damages, lost profits and/or a reasonable royalty and judgment that EOFlow Ltd.’s infringement of the ’883 Patent has been and continues to be deliberate and willful, and this is therefore an exceptional case warranting an
award of enhanced damages and attorneys’ fees pursuant to 35 U.S.C. §§ 284-285.
f)Award on Count VI a declaratory judgment that the manufacture, use, sale, or offer for sale in the United States, or importation into the United States, of the EOPatch device does infringe, and will infringe, the ’883 patent, directly and indirectly.
g)Award on Count VII judgment to Plaintiff Insulet Corporation against EOFlow Ltd., that EOFlow Ltd. has imported into the U.S. and offered to sell a fluid pump device that infringes the ’950 Patent and awarding damages in the amount of actual damages, lost profits and/or a reasonable royalty and judgment that EOFlow Ltd.’s infringement of the ’950 Patent has been and continues to be deliberate and willful, and this is therefore an exceptional case warranting an award of enhanced damages and attorneys’ fees pursuant to 35 U.S.C. §§ 284-285.
h)Award on Count VIII a declaratory judgment that the manufacture, use, sale, or offer for sale in the United States, or importation into the United States, of the EOPatch device does infringe, and will infringe, the ’950 patent, directly and indirectly.
i)Award on Count IX judgment to Plaintiff Insulet Corporation against the EOFlow Defendants, that the EOFlow Defendants have infringed Insulet’s trade dress in violation of 15 U.S.C. § 1125, and awarding damages in the amount of the EOFlow Defendants’ profits and any damages Insulet has sustained, as well as exemplary damages and attorneys’ fees;
j)Award on Count X a declaratory judgment against the EOFlow Defendants that the EOFlow Defendants have infringed Insulet’s trade dress in violation of 15 U.S.C. § 1125, and awarding damages in the amount of the EOFlow Defendants’ profits and any damages Insulet has sustained, as well as exemplary damages and attorneys’ fees;
k)Award on Count XI judgment to Plaintiff Insulet Corporation against the EOFlow Defendants, that the EOFlow Defendants have infringed Insulet’s trade dress in violation of M.G.L. ch. 110H, and awarding damages in the amount of the EOFlow Defendants’ profits and any damages Insulet has sustained, as well as exemplary damages and attorneys’ fees;
l)Award on Count XII a declaratory judgment that the EOFlow Defendants have infringed Insulet’s trade dress in violation of M.G.L. ch. 110H, and awarding damages in the amount of the EOFlow Defendants’ profits and any damages Insulet has sustained, as well as exemplary damages and attorneys’ fees;
m)Award on Count XIII judgment to Plaintiff Insulet Corporation and against Defendants EOFlow Ltd., EOFlow Inc., Steven DiIanni, Ian G. Welsford, Luis J. Malave in the number of actual damages, punitive damages in the amount of triple the amount of actual damages for willful or knowing unfair or deceptive conduct, plus full attorney’s fees, and award full punitive damages individually and separately against each and every Defendant;
n)Preliminarily and permanently enjoin all Defendants from marketing and selling any products containing, incorporating, or derived from Insulet’s confidential and
trade secret information and from using, copying, retaining, or further disclosing any of Insulet’s confidential trade secret information;
o)Order Defendants to deliver to Insulet for destruction at Defendants’ expense all products containing, incorporating, or derived from Insulet’s confidential and trade secret information;
p)Order Defendants to return all confidential and trade secret information to Insulet and confirm in writing, verified under the pains and penalties of perjury, that all copies have been destroyed, and outline with specificity exactly what actions were taken by Defendants to ensure the return and destruction of such information, including identifying the files where all such information was located and the custodian of such files;
q)Order an accounting of all sales of Defendants’ products incorporating, using, or derived from Insulet’s confidential and trade secret information;
r)Preliminarily and permanently enjoin EOFlow Ltd., from making, using or selling in the United States products that infringe U.S. Patent Nos. 11,229,741; 10,420,883; and 9,402,950;
s)Preliminarily and permanently enjoining the EOFlow Defendants from selling, offering for sale or distributing any products that infringe or dilute Insulet’s trade dress rights or injury Insulet’s business reputation in violation of 15 U.S.C. § 1125 and/or M.G.L. ch. 110H.
t)Awarding Insulet pre- and post-judgment interest the statutory rate of 12%, M.G.L. ch. 231, or the maximum rate allowable by law; and
u)All other relief that the Court deems just and proper.
DEMAND FOR JURY TRIAL
Plaintiff Insulet respectfully demands a jury trial pursuant to Fed. R. Civ. P. 38 on all
issues so triable.
Respectfully submitted,
| | | | | |
| GOODWIN PROCTER LLP
By: /s/Robert D. Carroll Robert D. Carroll (BBO# 662736) Robert Frederickson III (BBO# 670111) Scott T. Bluni (BBO# 660187) 100 Northern Avenue Boston, MA 02210 Tel.: (617) 570-1000 Fax.: (617) 321-4397 RCarroll@goodwinlaw.com RFrederickson@goodwinlaw.com SBluni@goodwinlaw.com
Jenny Zhang (BBO# 689838) Matthew Ginther (pro hac vice forthcoming) Goodwin Procter LLP 1900 N Street, NW Washington, DC 20036 Tel: (202) 346-1000 Fax: (202) 346-4444 JZhang@goodwinlaw.com MGinther@goodwinlaw.com
James Breen (pro hac vice forthcoming) Goodwin Procter LLP 620 Eighth Avenue New York, NY 10018 Tel.: (212) 813-8800 Fax: (212) 355-3333 JBreen@goodwinlaw.com
Attorneys for Plaintiff Insulet Corporation
|